一乐电子

 找回密码
 请使用微信账号登录和注册会员

QQ登录

只需一步,快速开始

微信扫码登录

手机号码,快捷登录

手机号码,快捷登录

搜索
查看: 4183|回复: 34

电源电路求助

  [复制链接]
发表于 2010-12-20 11:09 | 显示全部楼层 |阅读模式
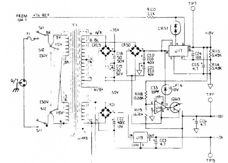
按图中的设计,测量到+-18V和-13V都正常,而+-35V异常,表现为+28.2V和-40.1V。应该怎么处理?由于图纸年代比我年龄还大,缺线。
电源电路.jpg
发表于 2010-12-20 18:35 | 显示全部楼层
将这两个电容C18,C19换掉看看。
回复

使用道具 举报

发表于 2010-12-20 18:45 | 显示全部楼层
把图的线条补全了,正负35V电压是直接整流滤波出来的,如果不对称的话检查变压器的绕组是否对称,整流桥有否损坏,最大的可能就是滤波电容性能不良有漏电现象。
101220105479619efccbed0033.jpg
回复

使用道具 举报

 楼主| 发表于 2010-12-20 20:05 | 显示全部楼层
回复 3# 天风雪雨

非常感谢,这2个电容是图中白色的,能用普通的替换吗?
    电源电路-1.jpg
回复

使用道具 举报

发表于 2010-12-20 21:27 | 显示全部楼层
滤波电容只要注意耐压值和正负极性就OK了。只要你放的进去好安装
回复

使用道具 举报

发表于 2010-12-20 21:59 | 显示全部楼层
这图片怎么感觉那么熟悉呢,是FLUKE8810?
回复

使用道具 举报

发表于 2010-12-20 22:46 | 显示全部楼层

标题

把图的线条补全了,正负35V电压是直接整流滤波出来的,如果不对称的话检查变压器的绕组是否对称,整流桥有否 ...
天风雪雨 发表于 2010-12-20 18:45 https://www.yleee.com.cn/images/common/back.gif

变压器损坏的可能不大,正负电压其实是全波整流,变压器绕组不对称不会引起正负电压不对称。
整流桥常见的是内部某个二极管击穿。
电解电容容量变化失效最为常见。
回复

使用道具 举报

发表于 2010-12-20 22:53 | 显示全部楼层
还有一种可能,+35V的负载电流过大。
回复

使用道具 举报

 楼主| 发表于 2010-12-21 00:33 | 显示全部楼层
这图片怎么感觉那么熟悉呢,是FLUKE8810?
天风雪雨 发表于 2010-12-20 21:59 https://www.yleee.com.cn/images/common/back.gif

是的,在修这个fluke8810是个挑战呀
回复

使用道具 举报

 楼主| 发表于 2010-12-21 00:37 | 显示全部楼层
现在的情况是正负35V都不准,正负18V和-13V都没问题。
显示不归零,有-0.813V电压,板子缺一个切换开关K5
已经弄清楚跳线,就差一个地方看不明白基本就可以通过跳线模拟切换开关用
回复

使用道具 举报

本版积分规则

QQ|一淘宝店|手机版|商店|一乐电子 ( 粤ICP备09076165号 ) 公安备案粤公网安备 44522102000183号

GMT+8, 2026-4-22 03:27 , Processed in 0.048921 second(s), 31 queries , Gzip On.

Powered by Discuz! X3.5

© 2001-2025 Discuz! Team.

快速回复 返回顶部 返回列表