一乐电子

 找回密码
 请使用微信账号登录和注册会员

QQ登录

只需一步,快速开始

微信扫码登录

手机号码,快捷登录

手机号码,快捷登录

搜索
查看: 4197|回复: 20

模拟开关控制多路18B20的另类方案

[复制链接]
发表于 2015-10-26 13:58 | 显示全部楼层 |阅读模式
准备搞个32路18B20的测温系统,如果用4组8个18B20并使用很简单,但是麻烦在于要读取18B20的ID,电路上要加存储器或在程序里变量预设好地址,更麻烦的在于
以后维护更换18B20都要找地址或修改程序。
因此,想到CD4051模拟开关,一个4051正好可以带8个18B20,唯一麻烦一点儿就是4051要占用几个地址和控制IO,但多个CD4051可复用地址IO。
理论上似乎可行,有没谁这样玩过或能提些建议!

发表于 2015-10-27 02:24 | 显示全部楼层
18b20很好的东西,用得很多的,竟然一群损它的。

说到可靠性,那是系统级别的问题而不是单一器件的问题
回复 1 0

使用道具 举报

发表于 2015-10-26 14:58 | 显示全部楼层
不知道你的测温系统是用来玩的还是用的,感觉18b20就是玩具,想要可靠就要不惜代价,为了省几个io大费脑筋实在是本末倒置,如果是玩玩的话当我没说。
回复

使用道具 举报

发表于 2015-10-26 15:38 | 显示全部楼层
赞同2楼观点,直接32个IO,简单粗暴

可以在启动后依次给器件加电,读 ID。
比方 4组8个18B20,先给每组的第1个器件加电,4个IO同时读ID; 然后给每组第2个器件加电,4个IO再同时读ID……读完所有ID后给所有的器件加电
(仅参考,没这样玩过)
回复

使用道具 举报

 楼主| 发表于 2015-10-26 15:41 | 显示全部楼层
老弹弓 发表于 2015-10-26 14:58
不知道你的测温系统是用来玩的还是用的,感觉18b20就是玩具,想要可靠就要不惜代价,为了省几个io大费脑筋 ...

当然是用的,而且还是用着工业上的,应用范围60——100℃
回复

使用道具 举报

发表于 2015-10-26 15:52 | 显示全部楼层
gongzhu 发表于 2015-10-26 15:41
当然是用的,而且还是用着工业上的,应用范围60——100℃

个人认为,18b20 非常非常不靠谱,不涉及到安全,距离近还可以,要是很重要,设计到人身安全还是用热电阻好,---------一个外行的看法,


工业用你还在乎什么IO, 我拆过欧姆龙PLC的热电阻模块,里面倒是8个点公用一个16位的AD, 用模拟开关切换的,
回复

使用道具 举报

发表于 2015-10-26 16:26 | 显示全部楼层
工业用还是PLC加专业测温头靠谱些,厂里有人做过烘箱控制的,一个烘箱9个点。有漂亮的人机界面,数据可以U盘保存。
回复

使用道具 举报

发表于 2015-10-26 16:35 | 显示全部楼层
老弹弓 发表于 2015-10-26 15:52
个人认为,18b20 非常非常不靠谱,不涉及到安全,距离近还可以,要是很重要,设计到人身安全还是用热电阻 ...

我看西门子PLC的资料,也是两个或更多的通道使用同一个AD。

也见过德国的一个知名品牌的设备内使用18B20做的温度检测,用来做过热报警的,而且这牌子不在国内修,有问题就得整个发德国去。若是18B20出问题的话,不管是他们派人来,还是把设备运回去,那成本都是海了去了。所以我觉得18B20应该不会那么弱吧?难道是18B20在国内山寨化程度太高,质量太次?

20140103_034717.jpg
回复

使用道具 举报

发表于 2015-10-26 17:22 | 显示全部楼层
本帖最后由 autolog 于 2015-10-26 17:23 编辑

DS18B20常用于教科书中,虽然是单总线但是严格的时序影响了系统的实时性
回复

使用道具 举报

发表于 2015-10-26 20:48 | 显示全部楼层
本帖最后由 40560335 于 2015-10-26 20:54 编辑
老弹弓 发表于 2015-10-26 15:52
个人认为,18b20 非常非常不靠谱,不涉及到安全,距离近还可以,要是很重要,设计到人身安全还是用热电阻 ...

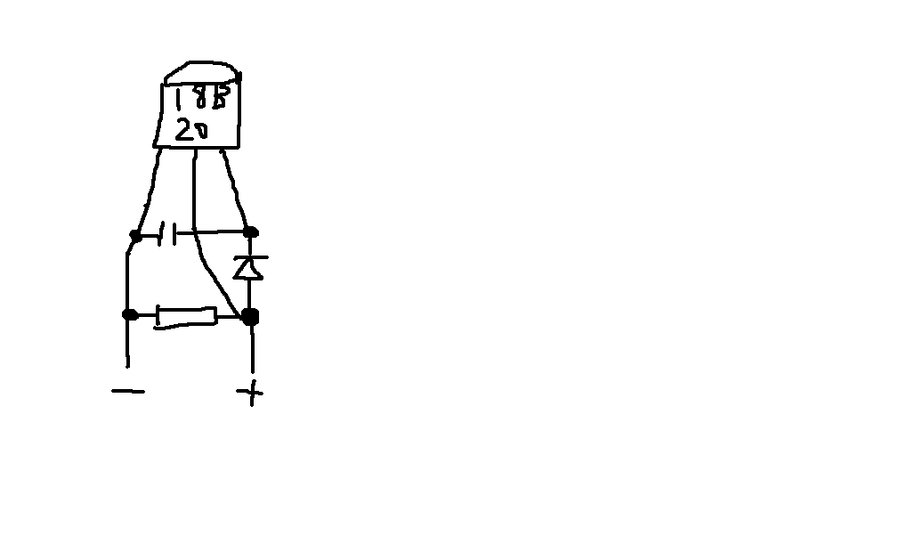
我会告诉你,火车客车上用的用于测量轴温的传感器就是DS18B20么,而且还是奇葩的两线接法,和DS中的两线接法完全不同。。。

而且我5年前做了一个检测温度的报警器,一年365天不间断工作,到现在还健在呢,哈哈!~

额,当时随手花了图,刚搜了下居然找到了,就是这种两线接法,不知道程序上是如何读取的。。。

DS18B20两线连接法.bmp

回复 1 0

使用道具 举报

发表于 2015-10-26 22:08 来自手机 | 显示全部楼层
40560335 发表于 2015-10-26 20:48
我会告诉你,火车客车上用的用于测量轴温的传感器就是DS18B20么,而且还是奇葩的两线接法,和DS中的两线 ...

火车上用18b20到没想到,不过还是属于近距离应用吧,不会车尾的轴温度用长长的线传到车头吧,感觉这玩意顶多在一个设备内用用,没法用在一个场地内 ,比如上百米外的测温。
回复

使用道具 举报

本版积分规则

QQ|一淘宝店|手机版|商店|一乐电子 ( 粤ICP备09076165号 ) 公安备案粤公网安备 44522102000183号

GMT+8, 2025-11-25 06:51 , Processed in 0.043683 second(s), 33 queries , Gzip On.

Powered by Discuz! X3.5

© 2001-2025 Discuz! Team.

快速回复 返回顶部 返回列表